Holiday Headline Round-Up | 07/01/26
Happy new year, let's catch up on the news.
Larian Makes Tremendous PR Blunder
The gaming masses find out Expedition 33 used Gen AI Textures
GPU costs expected to increase as memory shortage worsens
DLSS 4.5 announced at CES 2026
Sony’s AI patent for AI-powered assistance
The AI and Games Newsletter brings concise and informative discussion on artificial intelligence for video games each and every week. Plus summarising all of our content released across various channels, like our YouTube videos and in-person events like the AI and Games Conference.
You can subscribe to and support AI and Games, with weekly editions appearing in your inbox. If you'd like to work with us on your own games projects, please check out our consulting services. To sponsor, please visit the dedicated sponsorship page.
Hello one and all and happy new year. I hope you’ve had a restful couple of weeks - which I largely spent putting another 30 hours into and completing The Legend of Zelda: Tears of the Kingdom. I’m Tommy Thompson, this is AI and Games and for our first issue of 2026 I figured let’s catch up on what’s been going on in recent weeks.
Our final issues of 2025 were very editorial-heavy, including interviews with Meaning Machine, Lingotion, the Ubisoft ‘Teammates’ demo and part two on Game AI’s Existential Crisis, so I didn’t get a chance to round-up everything that has been going on of late. Plus I deliberately logged off completely during the break so I’ve only just been inundated with a lot of the drama that’s been going on in recent weeks.
Alrighty, let’s do it.
Follow AI and Games on: BlueSky | YouTube | LinkedIn | TikTok
AI (and Games) in the News
So yeah, lots of little bits of news that hit the interwebs in the past few weeks, but let’s quickly catch up with some of the main stories.

Larian’s Generative AI Fumble
Baldur’s Gate 3 creators Larian are no stranger to winning awards. After all they won Game of the Year at every major games industry awards ceremony across 2023 and 2024. But this time around CEO and studio founder Swen Vincke won the 2025 award for ‘Pissing Off Fans by Talking About AI’. After commenting in an interview with Bloomberg about having the studio adopt generative AI tools during development of upcoming RPG Divinity, the studio has since been on the backfoot trying to justify this, with much to be said across the industry both of its adoption, but also the fact that the studio’s hiring practices and cultures have much to be desired.
Admittedly, this is something of a known secret within the industry, and I’ve heard first and second-hand accounts of experiences working at the studio, and it often struck me that the success of Baldur’s Gate 3 was a nice buffer against many of the criticisms aimed at the company.
Vincke has stated he will host an AMA on Reddit sometime in 2026 to try and clear up the confusion. But I sincerely doubt the issues raised are going to go away, given it struck me that everything they mentioned they’re using AI for, is largely the antithesis of what people who have historically enjoyed their games are looking for. If anything, studios are going to be far more cautious of their approach on the subject moving forward.
The Claire Obscure: Expedition 33 AI Drama
Meanwhile the other big AI-drama during the holidays was at the feet of Sandfall Interactive and Claire Obscure: Expedition 33, which had recently won numerous game of the year awards, and even appeared in my top 10 for 2025 - though not scoring as highly as it did in other outlets.
The drama was over the game being stripped of a GOTY award by the ‘Indie Game Awards’ - an award setup ran by a small indie collective known as Six One Indie - as a result of its use of generative AI. With the organisers stating that it was stripped of the award given they have a zero tolerance policy on the use of gen AI, and it was not made clear during the voting process.
Frankly this whole thing speaks to the selective outrage people have over this issue. The use of generative AI for textures in Expedition 33 was a known thing as far back as April - even though they were later patched out - and it should have been addressed sooner. While understandable people are upset about it, the online furore seemed to benefit the awards publisher (whom I admittedly have never heard of) more than anyone else.
It’s funny given I raised the issues of this selective outrage last summer when The Alters received the bulk of everyone’s ire. Further to our previous story on Divinity, not only are player’s primed to spot AI-generated content, but now studios are going to work even harder to cover up any and all usage. Or maybe just… don’t?
GPU Prices to Increase Alongside RAM in 2026
A story that’s been brewing for the past few months is that cost of consumer grade memory for PCs (i.e. RAM) is ever increasing as a result of the current AI hype. Many a RAM manufacturer is placing a stronger emphasis on building memory chips for AI datacentres.
Datacentres typically use high-bandwidth memory that is not built for use in consumer-grade hardware. Given that everyone and their Auntie is promising new AI datacentres at the moment, these companies are making the push to focus on this rather than consumer-grade RAM. To a point that Micro, creators of the ‘Crucial’ RAM product line, is completely exiting the consumer business this year. All of this is leading to demand exceeding available supply, and for prices to more or less quadruple in the span of less than six months.
However, this is but the first issue that is going to arise, given the next big problem is in GPUs. After all GPU manufacturers rely on similar consumer grade memory stacks as part of the construction of graphics cards. Hence both AMD and Nvidia are expected to increase the cost of their current market GPUs as early as this month.
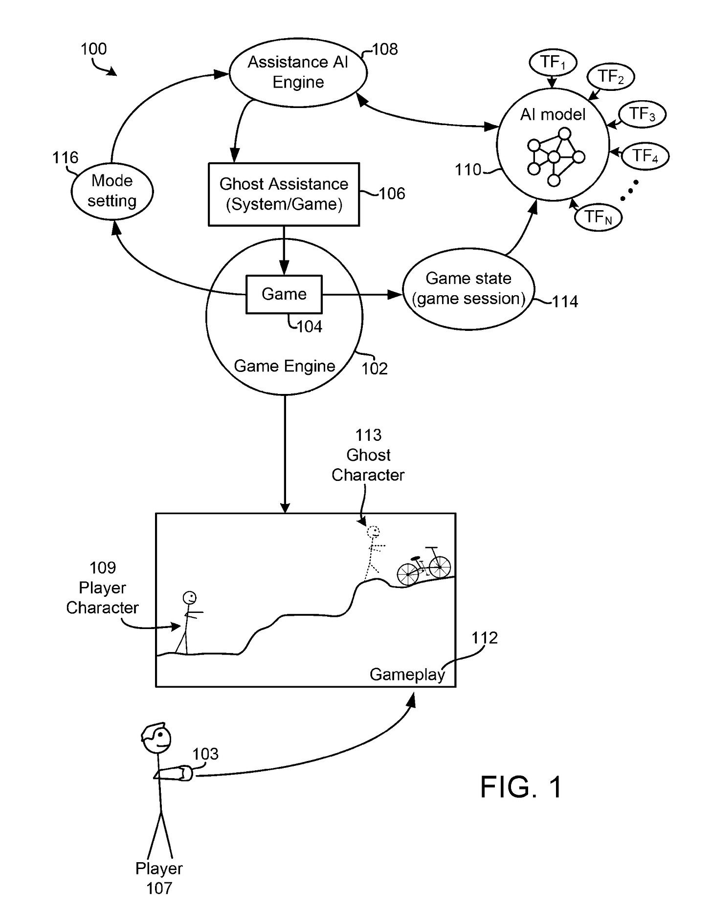
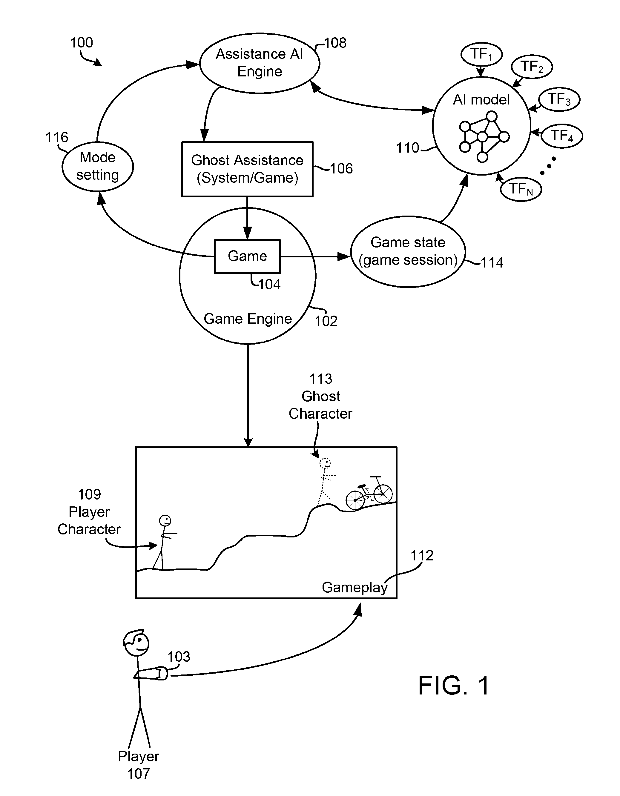
Sony’s Latest Patent Has AI Play Games for You
As was reported by VGC, Sony submitted a patent back in 2024 which was for creating a ‘Ghost Player’, that would be designed to support players in overcoming challenging tasks. As seen in the US patent application recorded in the WIPO, the idea is for Sony to have pre-trained a variety of AI bots that can solve specific aspects of a given game. The idea being that the player identifies issues they are experiencing, and then the game would load in a bot from the PSN servers designed to support it.
An interesting idea for sure, though no doubt with a huge amount of legwork required to ensure an AI bot could help players out in every possible scenario.
Nvidia: DLSS 4.5 & Return of RTX 3060
With this surge in costs for GPUs, it’s no surprise that Nvidia is trying to find ways to still appeal to the consumer market. The first is that after discontinuing the RTX 30 series GPUs back in 2024, it looks like Nvidia is going to bring them back. Largely because they’re still very cheap to manufacture, and also don’t rely on the same memory make-up as the 50 series GPUs that the AI datacentres are competing for. While a massive step backwards, it’s worth acknowledging that the RTX 3060 is still the most used GPU on the PC market according to Steam’s hardware survey at the end of 2025.
Meanwhile just this week at CES, Nvidia have avoided announcing any new GPUs that nobody would be able to afford, but have instead opted to announce an update to their AI upscaling tech DLSS. Version 4.5 of DLSS will use a new iteration of the transformer architecture running in version 4, alongside a boost in frame generation meaning it can now generate up to five additional frames per in-engine rendered frame. This is intended to enable for 240+fps gaming on RTX 50 series GPUs.
Microsoft: Please Stop Calling it Slop
Last but not least, one of the funniest things I saw this week was a post shared on LinkedIn by Microsoft CEO Satya Nadella entitled “Looking Ahead to 2026”. There was one line in it that - surprising absolutely nobody - caught everyone’s interest when he shared his thoughts on the future of AI:
We always think of AI as a scaffolding for human potential vs a substitute. What matters is not the power of any given model, but how people choose to apply it to achieve their goals. We need to get beyond the arguments of slop vs sophistication and develop a new equilibrium in terms of our “theory of the mind” that accounts for humans being equipped with these new cognitive amplifier tools as we relate to each other. This is the product design question we need to debate and answer.
In a year in which Slop was the word of the year for both Macquarie (Australian) and Merriam-Webster (American) dictionaries, this sounded a little desperate to me. After all, Microsoft has repeatedly sabotaged its broader businesses - be it Windows, Office 365, or Xbox - in pursuit of selling consumer-grade AI tools that people aren’t paying to use.
When the populace is increasingly at odds with what you’re selling, well… that might not be good for business. I hate to break it to Nadella, but if generative AI was truly a commodity (as he has so implied), you wouldn’t need to make such assertions.
Wrapping Up
That’s it for this week. I’m still finding my feet and trying to remember what my job is around here. But we’ll be back next week with my 2026 predictions issue. I got a lot of these correct last year, which was a little depressing at times. But here we go, I have an even longer list of things I expect to crop up throughout the next 12 months, and we’re going to dig into it.
Until then, hope you’re having a cracking start to the new year, and we’ll see you next week.







